详细介绍竹结构连接件节点(图)
竹结构连接件节点图:


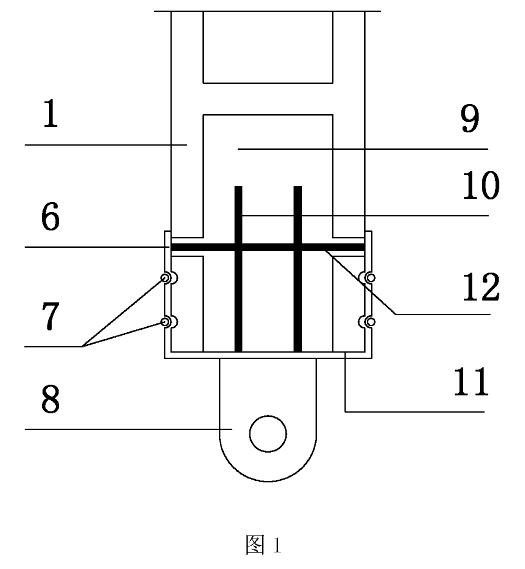
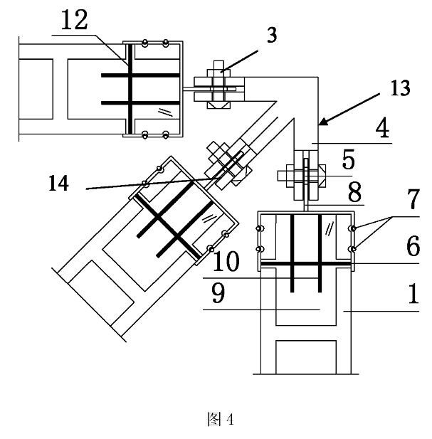
图1~图6编号对应构件名称:
1:竹竿;
2:竹竿连接件;
3:螺母;
4:竹竿连接节点;
5:螺栓;
6:钢套箍;
7:箍筋;
8:竹竿连接端;
9:混凝土灌芯;
10:预埋钢筋;
11:端板;
12:十字加强筋;
13:外伸端;
14:凹槽;
15:竹结构桁架;
16:上部桁架;
17:滑动铰支座;
18:固定铰支座;
如图1~图5所示,竹结构连接节点包括多根竹竿1、多个竹竿连接件2、多个竹竿连接节点4、多个螺栓5和多个螺母3,其中竹竿1的两端分别安装有一个竹竿连接件2,带有竹竿连接件2的多根竹根竹竿1之间通过竹竿连接节点4、螺栓5和螺母3相互连接在一起;所指的竹竿连接件2包括钢套箍6、箍筋7、竹竿连接端8、混凝土灌芯9、多根预埋钢筋10、端板11和十字加强筋12;其中十字加强筋12插入在竹竿1端部预留的十字孔内;混凝土灌芯9由灌注在竹竿1端部自然形成的空腔内的混凝土凝固后而形成;多根预埋钢筋10沿轴向插入在混凝土灌芯9的内部;钢套箍6套装在竹竿1的端部外圆周面上;端板11安装在钢套箍6的外端面上;竹竿连接端8和与之相连的外伸端13上的连接孔内均插入有一个螺栓5,并且螺栓5的外端用螺母3固定。
上述所指的竹竿1两端外圆周面上沿其圆周方向相隔距离形成有多道凹槽,而钢套箍6的内圆周面上沿其圆周方向突出形成有多圈能够分别嵌入在上述多道凹槽内的凸缘。
上述所指的竹竿连接节点4上外伸端13的外端部中心部位凹陷形成有一个用于插入竹竿连接端8的凹槽14。
上述所指的竹竿连接节点4上外伸端13的数量为2~7个,多根竹竿1拼接时只需改弯竹竿连接节点4上的外伸端13的数量即可。
如图6所示竹结构桁架一端安装有滑动铰支座17,另一端安装有固定铰支座18。
其组装过程好下:
在竹竿1的两端分别安装竹竿连接件2的方法是首先将十字加强筋12插入在竹竿1的端部的十字孔内,然后将多根预埋钢筋10沿轴向插入在竹竿1端部自然成型的空腔内并在空腔内灌注混凝土,混凝土凝固后形成混凝土灌芯9,接下来将钢套箍6套装在竹竿1的端部外周圆面上,并将端板11的外周圆焊接在钢套箍7的外端边缘上,之后将竹竿连接端8的后端固定在端板11的外表面中心,最后将箍筋7缠绕在钢套箍6的外圆周面上而将钢套箍6和竹竿1箍紧。
将多根不同的竹竿1相互连接的方法是首先将竹竿连接端8和竹竿连接节点4上的相应连接孔对齐,然后将螺栓5穿过上述两连接孔中,并在螺栓5的外端用螺母3拧紧,从而将竹竿连接端8和竹竿连接节点4之间可靠地连接在一起,待所需的竹结构连接节点全部连接完毕后就可形成上部桁架16,最后将固定铰支座18的上端连接在上部桁架16一端的下部竹竿连接节点4上,下端固定在一侧下部主体结构上,同时将滑动铰支座17的上端连接在上部桁架16另一端的下部竹竿连接节点4上,下端以滑动的方式固定在另一侧下部主体结构上,由些形成竹结构桁架15。
结语:以上所述竹结构连接节点具有以下几点优点:

图1为竹结构连接节点中竹竿及竹竿连接件连接部位结构正向剖视图。

图2为竹结构连接节点中竹竿及竹竿连接件连接部位结构侧向剖视图。

图3为竹结构连接节点中竹竿端部横向截面示意图。

图4为竹结构连接节点中三根竹竿与竹竿连接件连接部位结构示意图。

图5为竹结构连接节点中四根竹竿与竹竿连接件连接部位结构示意图。

图6为竹结构连接节点的竹结构桁架立面图。
(1)、计算准确:该结构能释放竹结构连接节点的弯矩和剪力,实现铰接,另外,竹构件工作时仅受沿竹竿轴线方向上的拉、压力,传力路径清晰,计算模型可以通过常规有限元计算软件准确建立并进行分析。
(2)、材料利用率高:竹竿作为主受力构件,利用混凝土和钢材加强竹竿端部,充分发挥三种不同材料的力学性能特点,避免了因端部破坏造成的竹构件提前失效,提高了材料的利用率。
(3)、施工方便、应用范围广:多根竹构件通过竹竿连接节点连接,并且使用螺栓连接,因此施工方便,可以替代大跨度空间结构中的纯拉压杆,就用于网架结构、网壳结构、弦支穹顶结构及张弦梁结构等。
(4):安全性高:竹构件端内部灌注混凝土、外部设钢套箍及箍筋,有效地加强了构件端部的可靠性。
结构企业,专业为: 竹结构、竹建筑、竹装饰、竹景观等竹艺工程提供,竹结构相关咨询、竹结构设计深化、原竹材料生产、施工落地管理、等一系列服务。致力为客户提供卓越的一站式体验.电话400-8866075 021-58665611。
本案例内容和图片来自于网络,若涉及版权,请联系我公司进行及时删除!
点赞 (0)
- 上一篇 原竹建筑结构性节点的构造方式
- 下一篇 原竹建筑连接节点方式
相关推荐
related suggestion
-
-
Test post title
2025-02-07 -
-