原竹建筑连接节点(二)
原竹建筑连接节点螺栓连接方式

(图2-1)


(图2-2)

(图2-3)
图2-1:螺栓连接节点方式1;
图2-2:螺栓连接节点方式2;
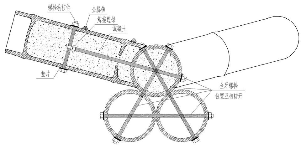
图2-3:螺栓与螺栓球连接节点方式3;
螺栓连接:螺栓固定也是原竹节点中最常用的连接方式,也常作为辅助手段和其他方式相结合。螺栓连接一般通过预先对竹材进行打孔,也可向竹空腔内注入混凝土,再以螺栓、螺帽、卡扣,金属箍、垫片等作为连接件相连,螺栓连接可以完成竹子之间的平行连接;在竹与竹的垂直连接节点中,除螺栓外还要依靠预埋件辅助。螺栓连接方式操作简单,适用性广,既美观又牢靠。
境道原竹13年高端竹结构企业,专业为:竹结构、竹建筑、竹装饰、竹景观等竹艺工程提供,竹结构相关咨询、竹结构设计深化、原竹材料生产、项目营造管理等一系列服务。致力为客户提供卓越的一站式体验.电话400-8866075021-58665611。
分享:
点赞 (3)
- 上一篇 原竹建筑连接节点(三)
- 已是最后文章
相关推荐
related suggestion